• home
    • Contents
    • Tarform Luna
    • CTRL-kit
    • Lotik
    • One Drop
    • Amorphic Robot Works
    • Ferra Designs Inc
  • resume
  • contact
Menu

Curtis Barbre

hardware - research - product
  • home
  • work
    • Contents
    • Tarform Luna
    • CTRL-kit
    • Lotik
    • One Drop
    • Amorphic Robot Works
    • Ferra Designs Inc
  • resume
  • contact
×

Wearable Neural Interface - CTRL-labs

CTRL-labs, now Facebook Reality Labs, invented a device to interface the human nervous system to computers using a wrist wearable 16-channel electromyography (EMG) device. By decoding the output of our motor cortex en-route to the hand, this state of the art device enables full representation of the user’s hand in computer or VR space, and even decodes motor intent without the user moving at all. As the first hire in the product department, I worked with the R&D team to develop the first robust, flexible, motion artifact and noise free wireless prototypes. I developed CTRL-kit, the first public facing development kit, integrating mechanicals, electricals and industrial design.

6c135390868535.5e24d3f9b1850.jpg
CTRL-kit-CTRL-labs-band-hub.png
Myrtle_Animation2-small.gif

Above: CTRL-kit, the wearable, battery operated EMG sensor with 16 differential pairs generating broadband signals from skin contact electrodes around the wrist. The central section contains a CPU, antenna, Li-Po battery and clasp.
Center-right is the wireless receiver. Credit for the incredible industrial design, renderings and GIF must go to Nick Baker. Note the integrated flexible strap, charge port, buttons, LEDs and the clasp which blends into the central form.

Process

Making CTRL-kit hardware work required continuously battling noise of various sorts. We developed proprietary techniques for maximizing SNR in order to make these miniature, flexible, dry-electrode biopotential amplifiers functional.
Below: Process photos showing the evolution from rigid PCB stacks to a rigid-flex design (shown in-panel on the test bench after delivery from the assemblers). In the center you can see an early version of the wireless broadcast PCB.

akrales_180516_2572_0132.0.jpg
20180614_161931_HDR.jpg
akrales_180516_2572_0231 (1).jpg

Article: The Verge. CTRL-labs Brain Computer Interface on Preview. Images: Akrales. Theverge.com/2018/6/6/17433516/ctrl-labs-brain-computer-interface-armband-hands-on-preview

Wearable Device

Details around the wrist wearable EMG, and its implementation for neural interfacing, are protected IP. Facebook purchased CTRL-labs and its tech in early 2019 for an undisclosed amount just under $1 billion.
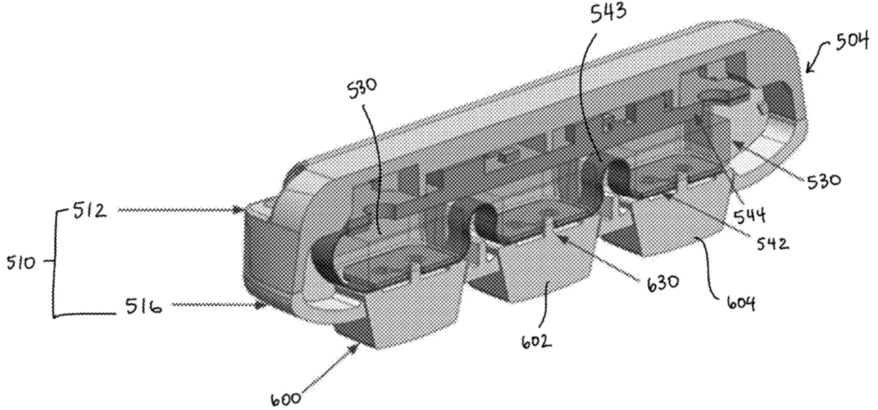
Below: Methods and Apparatus for Improved Signal Robustness for a Wearable Neuromuscular Recording Device (inventor, US patent 20200022606A1). Patent images showing the construction of one of the early models of CTRL-kit.

fig3.jpg
fig9a.jpg
leffertsOnWrist.jpg
 
00_m.jpg
fig4.jpg
fig6a6b.jpg

CTRL-kit-CTRL-labs-band-front.jpg
CTRL-kit-CTRL-labs-back.jpg
69330790868535.5e2e1e3cee724.jpg

 

Powered by Squarespace